From Cow Feed to Korn Kurl

By the mid-1930s, the Flakall Corporation was trying to build up a customer base for its machine, a version of the feed grinder initially designed and built by Clair Mathews. But, as it turned out, the machine would end up being more useful for snack food manufacturers than farmers.

Read More
1 Comment

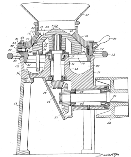
OBJECT HISTORY: Clair Mathews’s Feed Grinder

Recognizing the need to grind feed for his dairy cows, but unable to afford a mill, Clair Mathews designed his own version of a feed grinder. That grinder would inadvertently create the snack that would come to be known as Korn Kurls.

Read More
Comments Off on OBJECT HISTORY: Clair Mathews’s Feed Grinder

The Swiss Roots of America’s “Dairyland”

When the wheat crop failures of the late nineteenth century jeopardized the incomes of many of Wisconsin’s immigrant farmers, the region’s Swiss population transitioned to a trade that they knew from the Old World: dairying and cheesemaking. To do this, Swiss farmers…

Read More
Comments Off on The Swiss Roots of America’s “Dairyland”

OBJECT HISTORY: The Hefty-Blum White Barn

Barns are a defining feature of the Wisconsin landscape, and hold a special place in the history of Wisconsin. Among the many barns that contributed to Wisconsin’s place as a major dairy producing state is a Swiss barn that was built in 1878 in Green County. This barn, the Hefty-Blum White Barn, was used to…

Read More
Comments Off on OBJECT HISTORY: The Hefty-Blum White Barn

The Evolution of a Swiss Barn

The expansion of Wisconsin’s dairy industry in the 20th century not only altered the economy of the state, but it also influenced the structure of the very barns that housed the bovine champions of the industry. Barns must be adapted and altered…

Read More
Comments Off on The Evolution of a Swiss Barn

OBJECT HISTORY: Migrant Worker’s Cabin

This cabin, once occupied by a family of migrant workers employed by the Bond Pickle Company, is located at the property of Thomas and Jamie Sobush of Pensaukee, Wisconsin. The cabin was originally one of many other small cabins, clustered together at the Bond Village Migrant Camp on Van Hecke Avenue in Oconto, Wisconsin. The…

Read More
Comments Off on OBJECT HISTORY: Migrant Worker’s Cabin

End of content

No more pages to load